老板电器获得实用新型专利授权:“吸收换热装置余热的储水结构及燃气热水器”
66284
2025年09月05日
证券之星消息,根据天眼查APP数据显示老板电器(002508)新获得一项实用新型专利授权,专利名为“吸收换热装置余热的储水结构及燃气热水器”,专利申请号为CN202422615278.1,授权日为2025年9月5日。

图片来源于网络,如有侵权,请联系删除
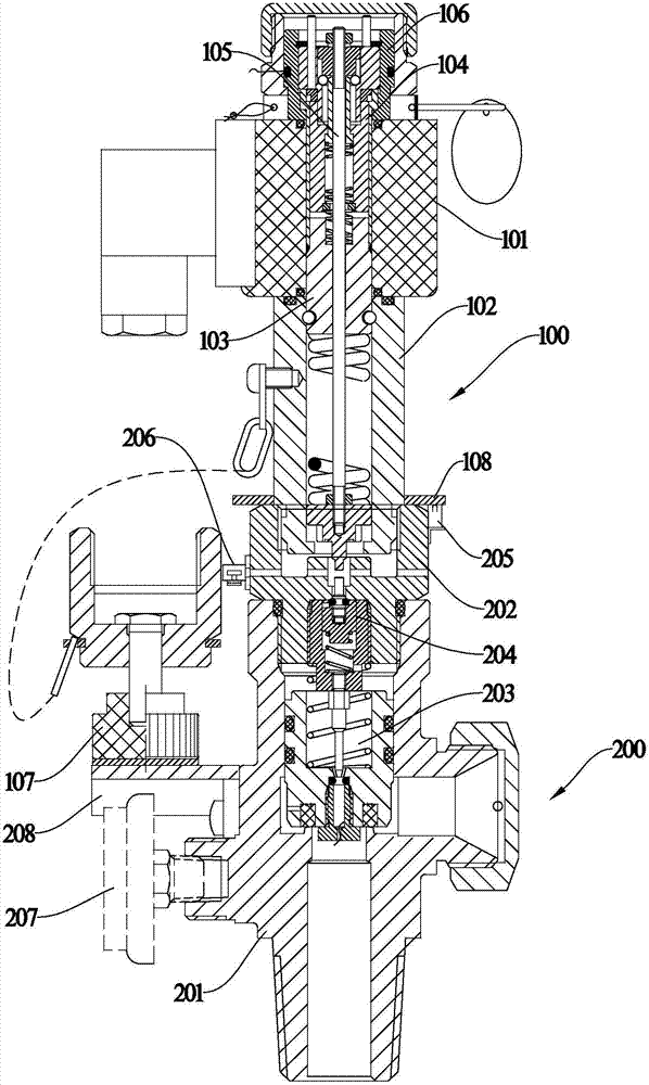
专利摘要:吸收换热装置余热的储水结构及燃气热水器,属于家用电器技术领域。该结构包括有燃烧器以及设置于所述燃烧器烟气流出路径上的换热装置,还包括有:贴合的设置于所述换热装置外部的储水组件;所述储水组件内设置有储水腔,所述储水腔与所述换热装置的水流通道相连通,所述储水组件还包括有设置于其上的进水口和出水口。上述储水组件和换热装置贴合设置,可以吸收换热装置表面的热量以作预热,能够提高热的利用率。

图片来源于网络,如有侵权,请联系删除
今年以来老板电器新获得专利授权1040个,较去年同期增加了3.79%。结合公司2025年中报财务数据,今年上半年公司在研发方面投入了1.59亿元,同比减10.9%。
通过天眼查大数据分析,杭州老板电器股份有限公司共对外投资了23家企业,参与招投标项目347次;财产线索方面有商标信息604条,专利信息9051条,著作权信息243条;此外企业还拥有行政许可131个。
数据来源:天眼查APP
以上内容为证券之星据公开信息整理,由AI算法生成(网信算备310104345710301240019号),不构成投资建议。