中国石化获得发明专利授权:“一种三相分离器及应用该分离器的沸腾床反应器”
证券之星消息,根据天眼查APP数据显示中国石化(600028)新获得一项发明专利授权,专利名为“一种三相分离器及应用该分离器的沸腾床反应器”,专利申请号为CN202311264194.1,授权日为2025年10月3日。

图片来源于网络,如有侵权,请联系删除
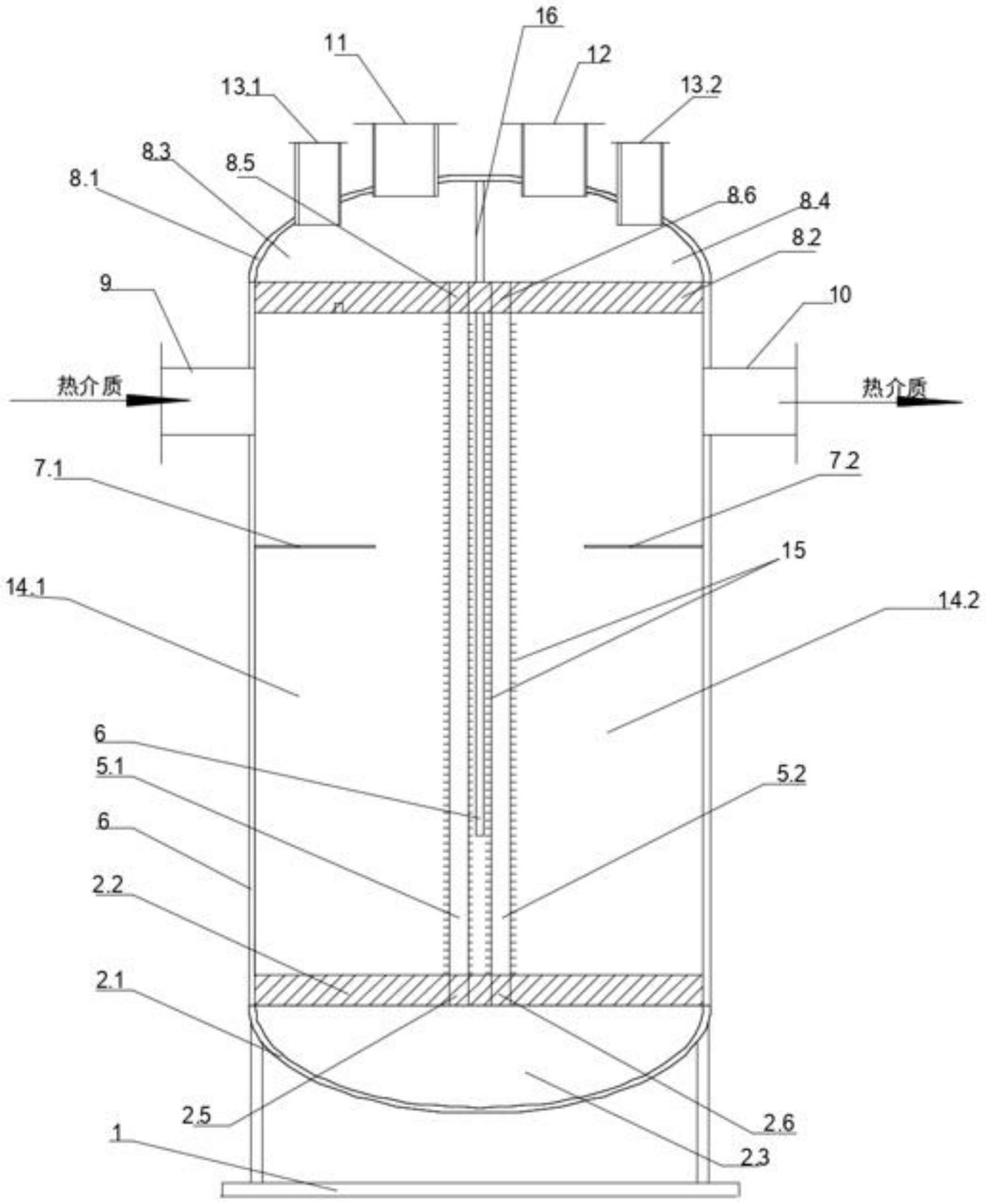
专利摘要:本发明公开了一种三相分离器及应用该分离器的沸腾床反应器。该三相分离器设置在沸腾床反应器中并用于气液固三相分离,包括:导流筒,其与反应器同轴设置;在导流筒与反应器的环形空间中,连续的气液物料以及携带的固体催化剂颗粒上行,并在顶部形成液固物料的第一次折流;折流筒,其套设在导流筒内侧上部;第一次折流后的液固物料在折流筒和导流筒之间的环形空间下行,在折流筒底部形成液固分离且液相物料完成第二次折流;排料筒,其套设在折流筒内侧;排料筒顶部设于反应器上封头中,排料筒下部壁面设有排气孔,用于将第二次折流后的液相物料以及汇聚于上封头下方的气相物料排至上封头中。本发明可有效避免上升气体对液固分离效率的影响和周向流动不均匀对反应器催化剂循环的影响。

图片来源于网络,如有侵权,请联系删除
今年以来中国石化新获得专利授权2916个,较去年同期减少了27.17%。结合公司2025年中报财务数据,今年上半年公司在研发方面投入了61.86亿元,同比增3.05%。

图片来源于网络,如有侵权,请联系删除
通过天眼查大数据分析,中国石油化工股份有限公司共对外投资了263家企业,参与招投标项目16376次;财产线索方面有商标信息106条,专利信息89195条,著作权信息1179条;此外企业还拥有行政许可40个。
数据来源:天眼查APP
以上内容为证券之星据公开信息整理,由AI算法生成(网信算备310104345710301240019号),不构成投资建议。