康力电梯获得外观设计专利授权:“电梯轿厢(KL/K25-3468)”
55979
2025年10月17日
证券之星消息,根据天眼查APP数据显示康力电梯(002367)新获得一项外观设计专利授权,专利名为“电梯轿厢(KL/K25-3468)”,专利申请号为CN202530028786.7,授权日为2025年10月17日。

图片来源于网络,如有侵权,请联系删除
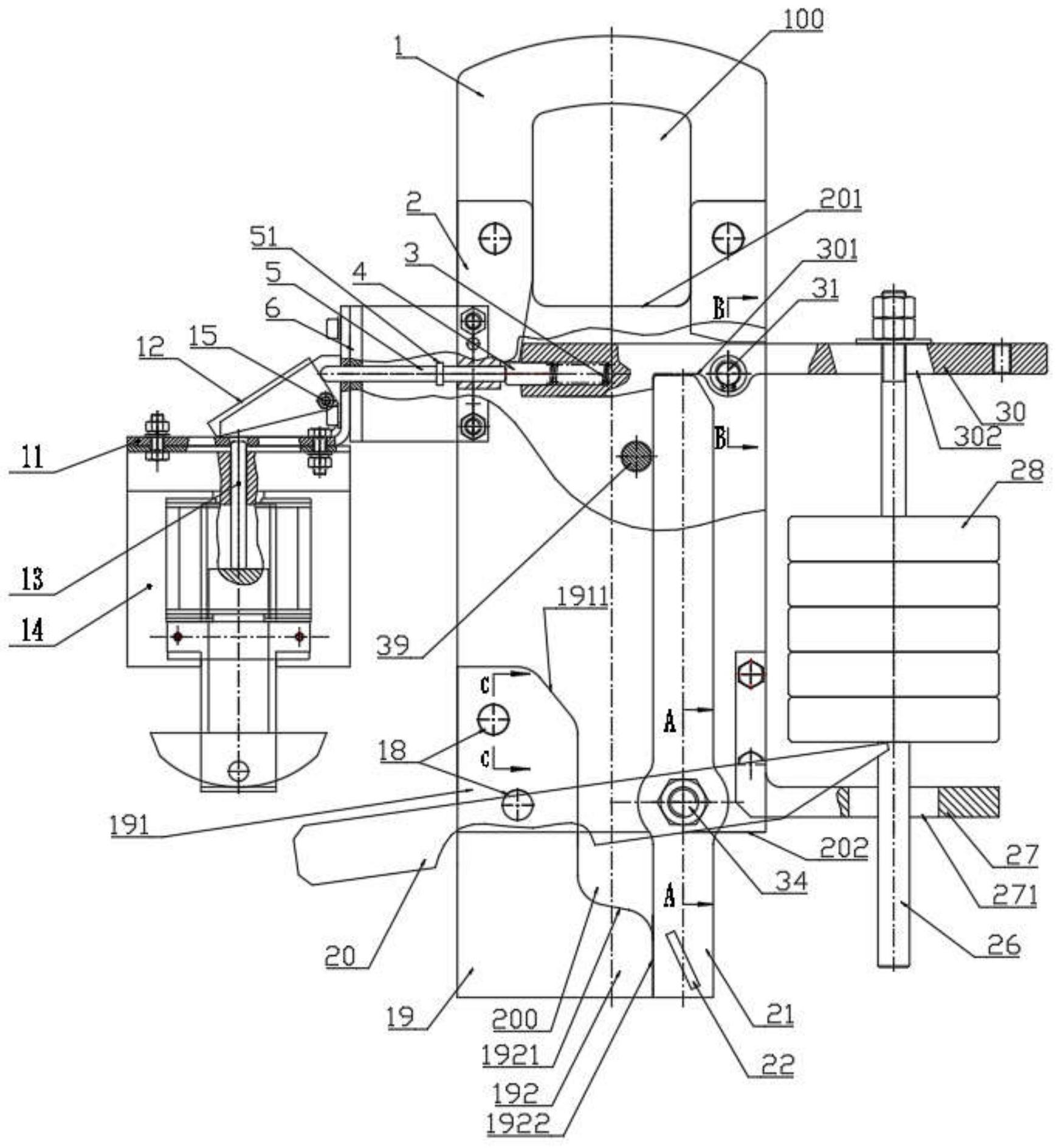
专利摘要:1.本外观设计产品的名称:电梯轿厢(KL/K25?3468)。2.本外观设计产品的用途:垂直升降电梯搭载乘客。3.本外观设计产品的设计要点:在于形状、图案与色彩的结合。4.最能表明设计要点的图片或照片:使用状态参考图。5.请求保护的外观设计包含色彩。6.其他需要说明的情形其他说明:主视图中黑色部分为镜面反光结构,实际使用过程会有如参考图所示的映衬效果。
今年以来康力电梯新获得专利授权38个,较去年同期减少了59.14%。结合公司2025年中报财务数据,今年上半年公司在研发方面投入了7757.76万元,同比增0.57%。
通过天眼查大数据分析,康力电梯股份有限公司共对外投资了19家企业,参与招投标项目4740次;财产线索方面有商标信息178条,专利信息1836条,著作权信息51条;此外企业还拥有行政许可34个。
数据来源:天眼查APP
以上内容为证券之星据公开信息整理,由AI算法生成(网信算备310104345710301240019号),不构成投资建议。