兖矿能源获得实用新型专利授权:“一种水文地质探测用取样装置”
证券之星消息,根据天眼查APP数据显示兖矿能源(600188)新获得一项实用新型专利授权,专利名为“一种水文地质探测用取样装置”,专利申请号为CN202422757084.5,授权日为2025年10月28日。

图片来源于网络,如有侵权,请联系删除
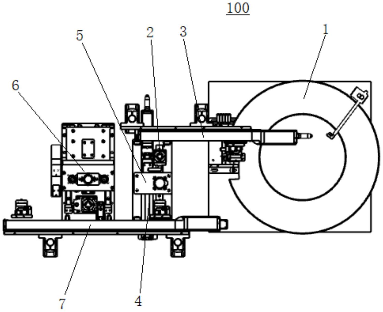
专利摘要:本申请提供一种水文地质探测用取样装置,包括安装板;转动连接在所述安装板边缘的四条支撑腿;所述安装板中心处开设有通孔,通孔内滑动连接有固定筒;连接在所述安装板上的固定架;设置在所述固定架顶部的伸缩气缸;滑动连接在所述固定架柱体结构内的升降板;设置在所述升降板顶部的电机;转动连接在所述升降板底部的连接轴;所述固定筒内部中心处转动连接有绞龙,所述固定筒内的绞龙底端固定连接有钻头,所述钻头的端部还固定连接有连接筒和过滤筒。通过本申请采用的多个拼接筒相互连接,能够加长钻孔的深度,从而解除钻头长度的问题,并且在采样的过程中,土样能够快速的通过绞龙向上排出,提高了土壤采样的效率。

图片来源于网络,如有侵权,请联系删除
今年以来兖矿能源新获得专利授权218个,较去年同期增加了3.81%。结合公司2025年中报财务数据,今年上半年公司在研发方面投入了7.47亿元,同比减17.3%。

图片来源于网络,如有侵权,请联系删除
通过天眼查大数据分析,兖矿能源集团股份有限公司共对外投资了60家企业,参与招投标项目24574次;财产线索方面有商标信息316条,专利信息2308条,著作权信息62条;此外企业还拥有行政许可48个。
数据来源:天眼查APP
以上内容为证券之星据公开信息整理,由AI算法生成(网信算备310104345710301240019号),不构成投资建议。