中南股份获得发明专利授权:“加料系统及其应用”
64246
2025年11月05日
证券之星消息,根据天眼查APP数据显示中南股份(000717)新获得一项发明专利授权,专利名为“加料系统及其应用”,专利申请号为CN202310539478.0,授权日为2025年11月4日。

图片来源于网络,如有侵权,请联系删除
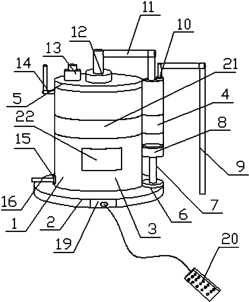
专利摘要:本发明提供一种加料系统及其应用,涉及磁性物料输送设备技术领域。包括支架、行车区、履带吸送区和料斗区。行车区包括轨道和容纳于轨道内的第一活动轮,轨道与第一支架在同一平面内通过交点固定。履带吸送区包括底座,底座上开设有开口,履带穿过开口与底座形成链形结构,磁性件和滚轮均安装于底座同侧且与履带运动方向平行的边,磁性件位于底座与滚轮之间,履带通过滚轮和履带驱动轮环形围绕,履带的两端分别为吸料区和送料区。料斗区固定件与送料区的履带对应间隔设置,且料斗区固定件设置有进料口,进料口对应的底座上没有磁性件,进料口上安装有料斗闸门。该系统实现了机械化、不同位置地输送物料,且能够收集履带运动过程中掉落的物料。
今年以来中南股份新获得专利授权106个,较去年同期减少了20.3%。结合公司2025年中报财务数据,今年上半年公司在研发方面投入了1.73亿元,同比减40.14%。
通过天眼查大数据分析,广东中南钢铁股份有限公司共对外投资了11家企业,参与招投标项目6755次;财产线索方面有商标信息5条,专利信息2622条,著作权信息24条;此外企业还拥有行政许可2018个。
数据来源:天眼查APP
以上内容为证券之星据公开信息整理,由AI算法生成(网信算备310104345710301240019号),不构成投资建议。