楚天科技获得发明专利授权:“一种无菌取样装置”
66843
2026年02月07日
证券之星消息,根据天眼查APP数据显示楚天科技(300358)新获得一项发明专利授权,专利名为“一种无菌取样装置”,专利申请号为CN202310472878.4,授权日为2026年2月6日。

图片来源于网络,如有侵权,请联系删除
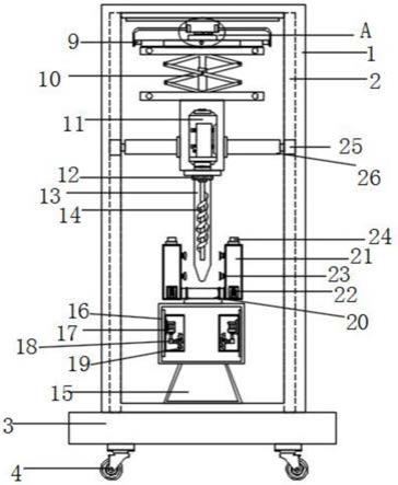
专利摘要:本发明公开了一种无菌取样装置,包括取样针和支座,所述支座内设有导向通道,所述导向通道一端设有用于密封导向通道的第一密封件,所述取样针为中空结构,取样针一端位于所述导向通道内并设有取样孔,所述取样针位于所述导向通道内的一端设有用于刺破所述第一密封件的针尖部,所述支座与所述取样针之间设有第二密封件,所述取样孔位于所述第二密封件与所述第一密封件之间,所述取样针另一端连接有取样通道,所述取样通道上设有截止阀。本发明具有结构简单,可以重复使用,有利于避免药液污染和浪费风险等优点。

图片来源于网络,如有侵权,请联系删除
今年以来楚天科技新获得专利授权26个,较去年同期增加了4%。结合公司2025年中报财务数据,2025上半年公司在研发方面投入了2.27亿元,同比减25.95%。
通过天眼查大数据分析,楚天科技股份有限公司共对外投资了22家企业,参与招投标项目794次;财产线索方面有商标信息128条,专利信息5106条,著作权信息260条;此外企业还拥有行政许可244个。
数据来源:天眼查APP
以上内容为证券之星据公开信息整理,由AI算法生成(网信算备310104345710301240019号),不构成投资建议。