拓普集团获得实用新型专利授权:“一种汽车空气供给单元的减振安装结构”
证券之星消息,根据天眼查APP数据显示拓普集团(601689)新获得一项实用新型专利授权,专利名为“一种汽车空气供给单元的减振安装结构”,专利申请号为CN202520421102.4,授权日为2026年2月10日。

图片来源于网络,如有侵权,请联系删除
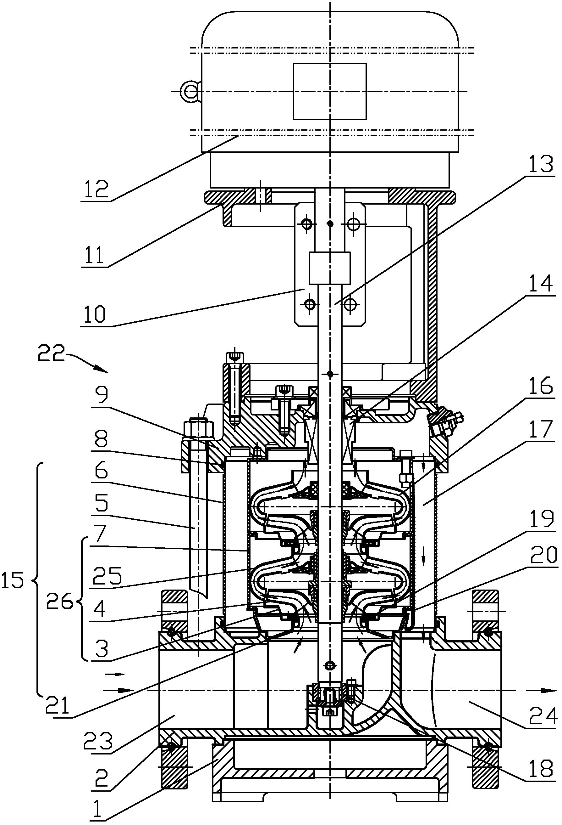
专利摘要:本实用新型公开了一种汽车空气供给单元的减振安装结构,包括安装支架,所述的安装支架的一侧安装有第一减振垫,所述的安装支架的另一侧设置有第二减振垫,所述的第一减振垫的外侧设置有第一支架垫板,所述的第二减振垫的外侧连接有第二支架垫板,所述的第一减振垫与第一支架垫板之间设置有若干个支架弹簧,所述的安装支架上安装有若干个依次穿过第一支架垫板、第一减振垫、安装支架、第二减振垫和第二支架垫板的支架螺栓,所述的安装支架的边缘位置设置有若干个减振衬套组件,第一减振垫、第二减振垫可以吸收空气供给单元工作时产生的振动,减振衬套组件将安装支架和空气供给单元减振安装到汽车内,满足空气供给单元的安装使用需求。

图片来源于网络,如有侵权,请联系删除
今年以来拓普集团新获得专利授权13个,较去年同期减少了18.75%。结合公司2025年中报财务数据,2025上半年公司在研发方面投入了7.05亿元,同比增32.21%。
通过天眼查大数据分析,宁波拓普集团股份有限公司共对外投资了49家企业,参与招投标项目29次;财产线索方面有商标信息23条,专利信息1019条,著作权信息80条;此外企业还拥有行政许可41个。
数据来源:天眼查APP
以上内容为证券之星据公开信息整理,由AI算法生成(网信算备310104345710301240019号),不构成投资建议。