亚普股份获得实用新型专利授权:“一种预浸料分切装置”
61324
2026年02月10日
证券之星消息,根据天眼查APP数据显示亚普股份(603013)新获得一项实用新型专利授权,专利名为“一种预浸料分切装置”,专利申请号为CN202520429413.5,授权日为2026年2月10日。

图片来源于网络,如有侵权,请联系删除
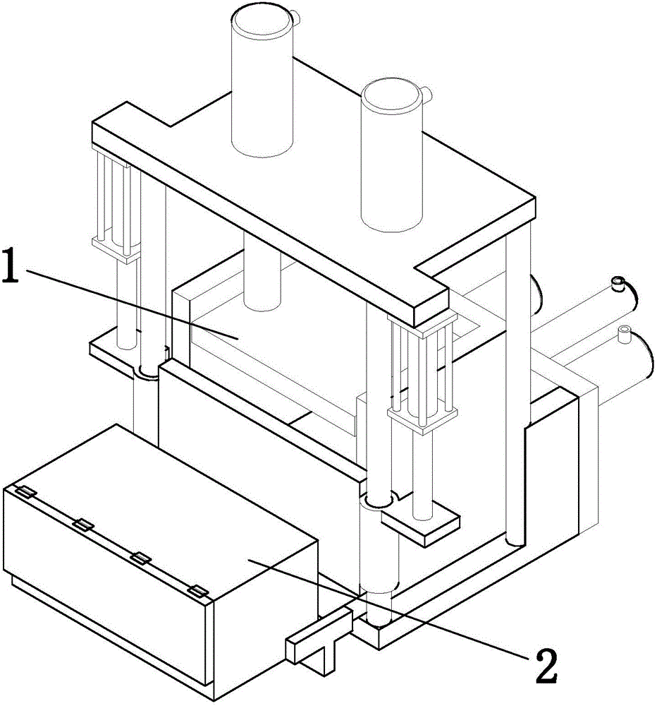
专利摘要:本实用新型提供一种预浸料分切装置,包括:支撑架、摆动臂、分切组件和调节组件,所述摆动臂相对于所述支撑架沿着竖向方向摆动设置;所述分切组件包括刀架转盘和至少两种切刀,所述刀架转盘设置于所述摆动臂,所述至少两种切刀间隔设置于所述刀架转盘的周侧,所述刀架转盘用于根据不同类型的预浸料卷选择不同的所述切刀;所述调节组件设置于所述支撑架和所述摆动臂之间,所述调节组件用于调节所述摆动臂相对于所述支撑架的横向位置。本实用新型提供一种预浸料分切装置,用以解决连续纤维增强热塑预浸料分切的成本高、工序复杂、难以满足不同幅宽的分切需求的技术问题。

图片来源于网络,如有侵权,请联系删除
今年以来亚普股份新获得专利授权5个,较去年同期减少了16.67%。结合公司2025年中报财务数据,2025上半年公司在研发方面投入了1.39亿元,同比减0.92%。
通过天眼查大数据分析,亚普汽车部件股份有限公司共对外投资了8家企业,参与招投标项目803次;财产线索方面有商标信息44条,专利信息617条,著作权信息1条;此外企业还拥有行政许可30个。
数据来源:天眼查APP
以上内容为证券之星据公开信息整理,由AI算法生成(网信算备310104345710301240019号),不构成投资建议。