鞍钢股份获得实用新型专利授权:“一种高铝硅生产用光整机的清洗装置”
证券之星消息,根据天眼查APP数据显示鞍钢股份(000898)新获得一项实用新型专利授权,专利名为“一种高铝硅生产用光整机的清洗装置”,专利申请号为CN202520400550.6,授权日为2026年3月17日。

图片来源于网络,如有侵权,请联系删除
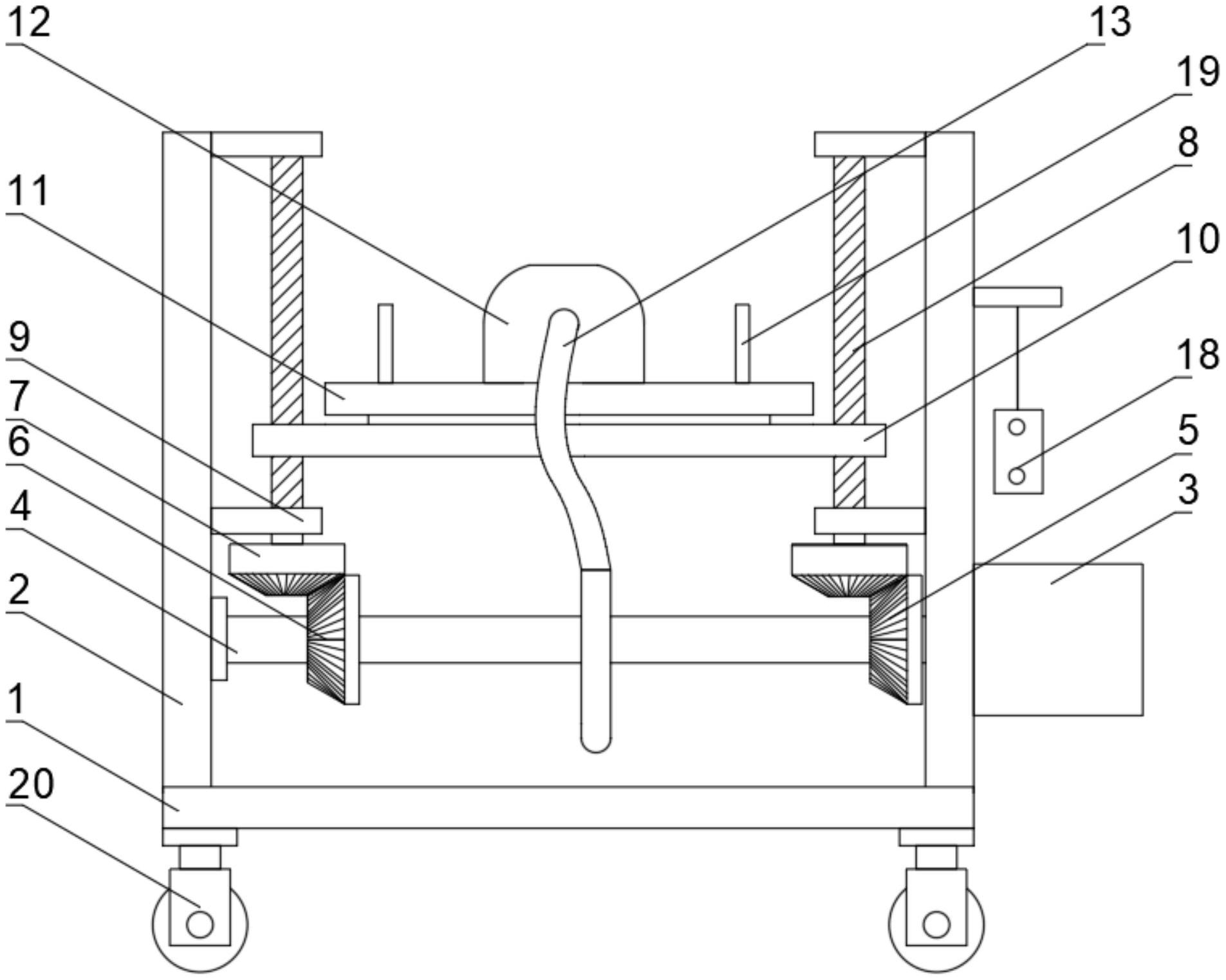
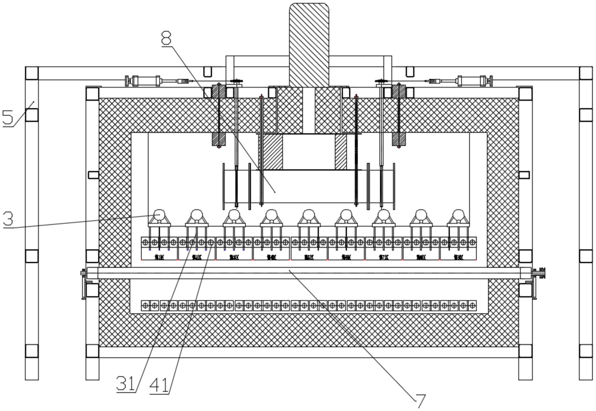
专利摘要:本实用新型涉及冷轧镀锌线生产技术领域,尤其涉及一种高铝硅生产用光整机的清洗装置,光整工作箱入口一与气动隔膜泵的输出端通过管路连接,气动隔膜泵的输入端与光整原液箱通过管路连接,光整工作箱入口二与气动阀二一端通过管路连接,气动阀二另一端与除盐水管路连接,光整工作箱的出口与工作泵的输入端通过管路连接,工作泵的输出端与光整工作辊喷嘴喷嘴通过管路连接。本实用新型优点:作业人员通过HMI人机交互屏设定光整工作箱中的电导率,实现光整工作箱内液体达到合理配比,将光整工作箱中的混合液体通过工作泵和光整工作辊喷嘴喷洒在光整辊上,能够有效减少色差、辊印等表面缺陷,减少工作辊的更换次数,延长工作辊使用寿命。

图片来源于网络,如有侵权,请联系删除
今年以来鞍钢股份新获得专利授权271个,较去年同期增加了207.95%。结合公司2025年中报财务数据,2025上半年公司在研发方面投入了2.59亿元,同比增35.6%。
通过天眼查大数据分析,鞍钢股份有限公司共对外投资了53家企业,参与招投标项目67607次;财产线索方面有商标信息15条,专利信息11115条,著作权信息165条;此外企业还拥有行政许可650个。
数据来源:天眼查APP
以上内容为证券之星据公开信息整理,由AI算法生成(网信算备310104345710301240019号),不构成投资建议。