歌尔股份获得发明专利授权:“头戴设备的控制方法及头戴设备”
证券之星消息,根据天眼查APP数据显示歌尔股份(002241)新获得一项发明专利授权,专利名为“头戴设备的控制方法及头戴设备”,专利申请号为CN202310687610.2,授权日为2025年11月7日。

图片来源于网络,如有侵权,请联系删除
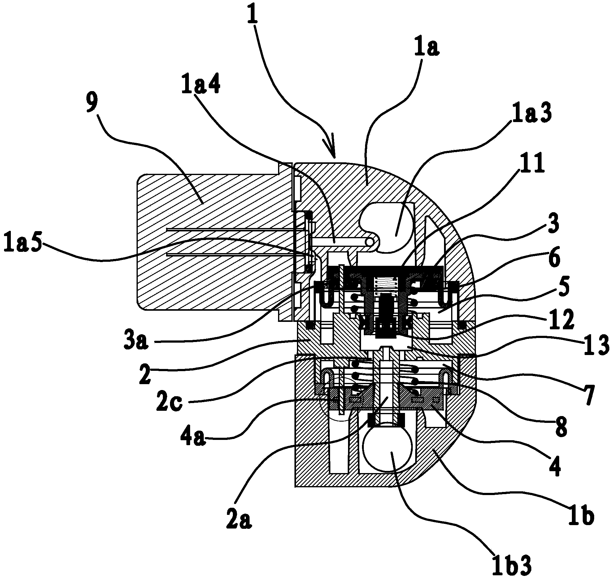
专利摘要:本发明公开一种头戴设备的控制方法及头戴设备,头戴设备包括壳体、顶带、调节装置、压力检测装置及控制装置,顶带具有安装在壳体内的两个安装端、连接两个安装端的中间段,调节装置能够作用于安装端,以调节中间段的长度,压力检测装置设在顶带上,以检测顶带受到的压力值;头戴设备的控制方法包括:获取压力检测装置的压力值;当压力值小于第一边界值时,控制调节装置动作,通过安装端带动中间段收缩;当压力值大于第二边界值时,控制调节装置动作,通过安装端带动中间段伸长;第二边界值大于第一边界值。压力检测装置穿戴在头部可以感应压力值,调节装置能根据压力值自动调整顶带中间段的长度,以适应用户的头围,使之穿戴舒适。

图片来源于网络,如有侵权,请联系删除
今年以来歌尔股份新获得专利授权570个,较去年同期增加了6.15%。结合公司2025年中报财务数据,今年上半年公司在研发方面投入了23.54亿元,同比增15.81%。

图片来源于网络,如有侵权,请联系删除
通过天眼查大数据分析,歌尔股份有限公司共对外投资了43家企业,参与招投标项目244次;财产线索方面有商标信息171条,专利信息10287条,著作权信息45条;此外企业还拥有行政许可619个。
数据来源:天眼查APP
以上内容为证券之星据公开信息整理,由AI算法生成(网信算备310104345710301240019号),不构成投资建议。