比亚迪公布国际专利申请:“作动器、悬架总成和车辆”
55969
2025年11月09日
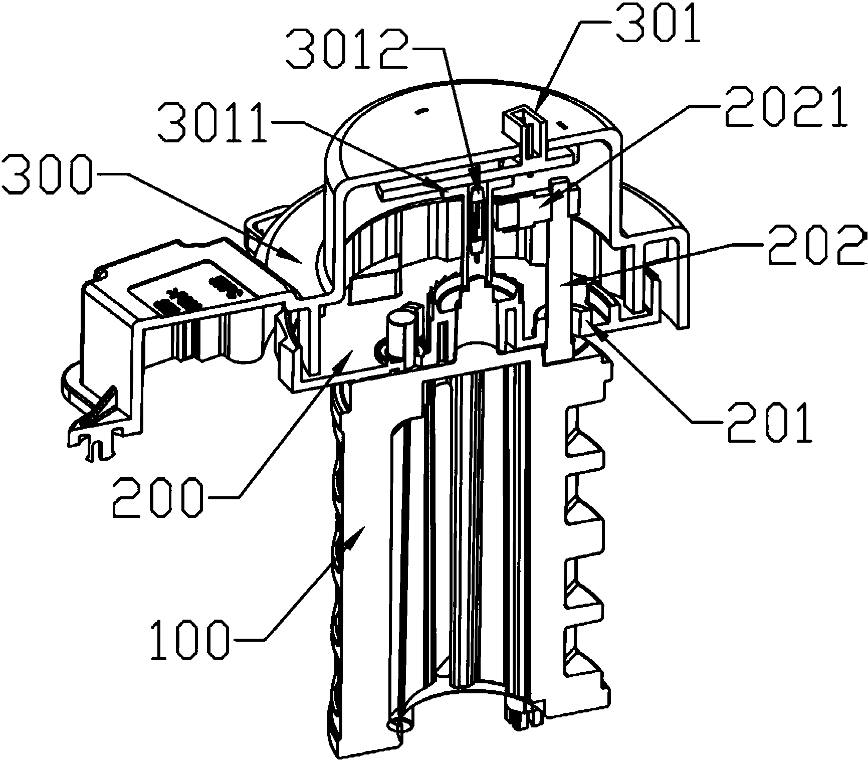
证券之星消息,根据企查查数据显示比亚迪(002594)公布了一项国际专利申请,专利名为“作动器、悬架总成和车辆”,专利申请号为PCT/CN2024/136356,国际公布日为2025年11月6日。

图片来源于网络,如有侵权,请联系删除
专利详情如下:

图片来源于网络,如有侵权,请联系删除
图片来源:世界知识产权组织(WIPO)

图片来源于网络,如有侵权,请联系删除
今年以来比亚迪已公布的国际专利申请596个,较去年同期增加了89.21%。结合公司2025年中报财务数据,今年上半年公司在研发方面投入了295.96亿元,同比增50.84%。
数据来源:企查查
以上内容为证券之星据公开信息整理,由AI算法生成(网信算备310104345710301240019号),不构成投资建议。