浙江永强获得实用新型专利授权:“同步抽拉桌”
证券之星消息,根据天眼查APP数据显示浙江永强(002489)新获得一项实用新型专利授权,专利名为“同步抽拉桌”,专利申请号为CN202520469946.6,授权日为2026年2月27日。

图片来源于网络,如有侵权,请联系删除
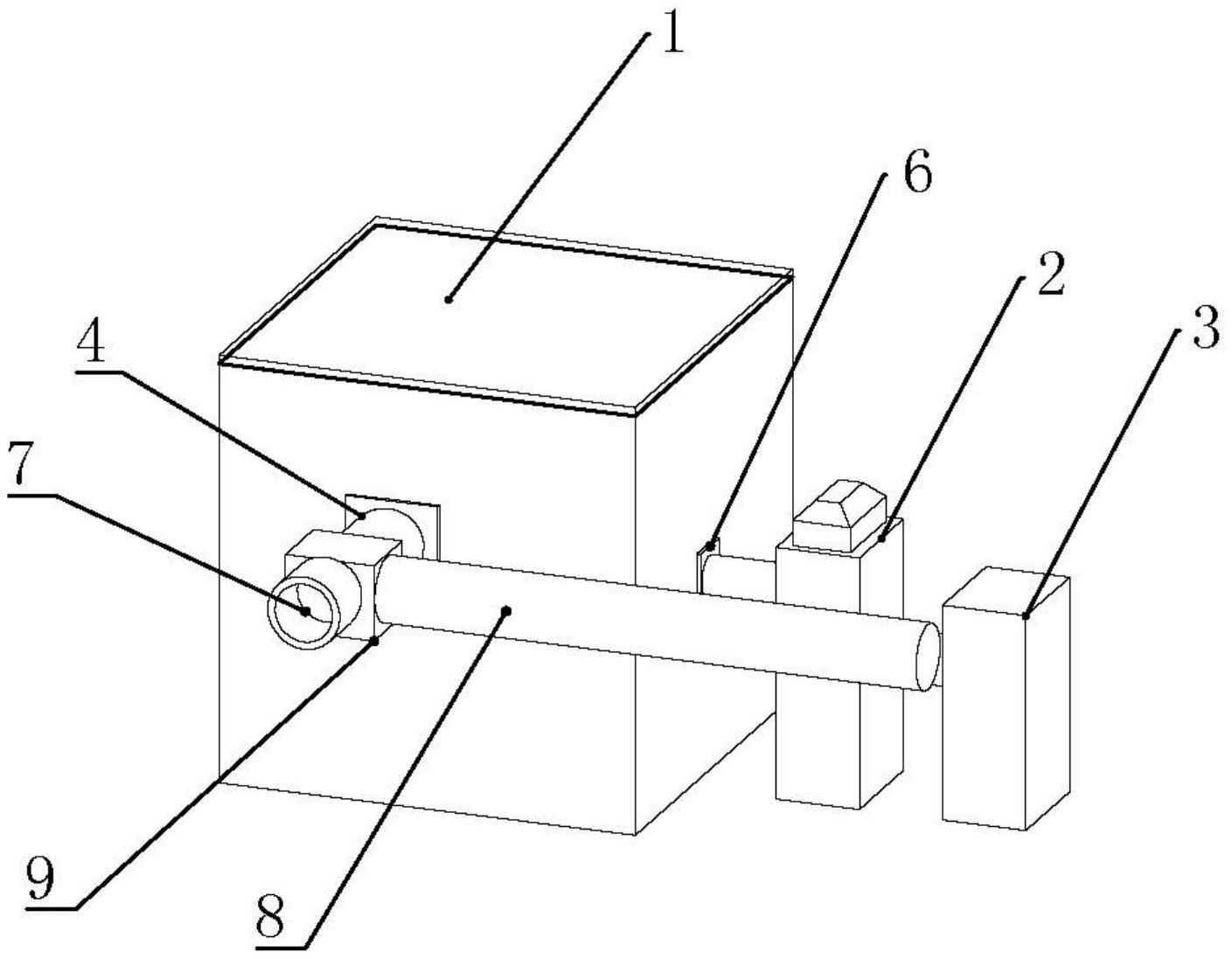
专利摘要:本实用新型提供一种同步抽拉桌,解决了现有技术中抽拉桌变形结构复杂导致的单人操作不便的问题,其包括:支撑围框,支撑围框上设置有滑轨,滑轨上滑动设置有两个滑块;同步带轮结构,同步带轮结构包括设置于滑轨两端的两个同步轮以及套设在两个同步轮上并可围绕两个同步轮转动的同步带,同步带包括分设于同步轮连线两侧的两段,两个滑块分别与两段同步带固定,两段同步带的运动方向相反;桌板组件,桌板组件包括两个侧桌板,两个侧桌板搭设于支撑围框上,并分别与两个滑块连接;朝外侧拉动一侧的侧桌板,带动对应滑块在滑轨上滑动的同时,同步带围绕同步轮转动,两个侧桌板同步打开;朝内侧推动一侧的侧桌板,两个侧桌板同步收合。

图片来源于网络,如有侵权,请联系删除
今年以来浙江永强新获得专利授权49个,较去年同期增加了19.51%。结合公司2025年中报财务数据,2025上半年公司在研发方面投入了7355.83万元,同比增8.02%。

图片来源于网络,如有侵权,请联系删除
通过天眼查大数据分析,浙江永强集团股份有限公司共对外投资了41家企业,参与招投标项目17次;财产线索方面有商标信息150条,专利信息1668条,著作权信息4条;此外企业还拥有行政许可21个。
数据来源:天眼查APP
以上内容为证券之星据公开信息整理,由AI算法生成(网信算备310104345710301240019号),不构成投资建议。