泸州老窖获得实用新型专利授权:“用于多级离心泵的防护罩及多级离心泵”
证券之星消息,根据天眼查APP数据显示泸州老窖(000568)新获得一项实用新型专利授权,专利名为“用于多级离心泵的防护罩及多级离心泵”,专利申请号为CN202422874985.2,授权日为2025年8月26日。

图片来源于网络,如有侵权,请联系删除
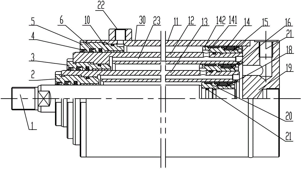
专利摘要:本实用新型公开的是设备安全防护技术领域的一种用于多级离心泵的防护罩及多级离心泵。多级离心泵轴向末端设有法兰、自带壳体及端盖,自带壳体连接在法兰和端盖之间,自带壳体为回转体结构一部分,自带壳体为上下方位上对称分布的两个,左右方位上形成观察窗口;包含透明保护罩,透明保护罩设置为尺寸规格相同的两个,分别用于两个观察窗口的遮挡,透明保护罩为回转体结构的一部分,两个透明保护罩可拆卸连接在法兰或端盖上,透明保护罩和自带壳体共同组成回转体结构。增设保护罩对观察窗口进行遮挡,提升安全性;保护罩配置为透明的,便于观察;透明保护罩为与自带壳体相适配的回转体结构,可避免产生干涉;透明保护罩可拆卸设置,以便于维护。

图片来源于网络,如有侵权,请联系删除
今年以来泸州老窖新获得专利授权51个,较去年同期减少了12.07%。结合公司2024年年报财务数据,2024年公司在研发方面投入了2.61亿元,同比增15.5%。

图片来源于网络,如有侵权,请联系删除
通过天眼查大数据分析,泸州老窖股份有限公司共对外投资了30家企业,参与招投标项目1468次;财产线索方面有商标信息6772条,专利信息1060条,著作权信息153条;此外企业还拥有行政许可74个。
数据来源:天眼查APP
以上内容为证券之星据公开信息整理,由AI算法生成(网信算备310104345710301240019号),不构成投资建议。