鞍钢股份获得实用新型专利授权:“一种双模块机组出口导管的固定装置”
证券之星消息,根据天眼查APP数据显示鞍钢股份(000898)新获得一项实用新型专利授权,专利名为“一种双模块机组出口导管的固定装置”,专利申请号为CN202421685035.9,授权日为2025年9月30日。

图片来源于网络,如有侵权,请联系删除
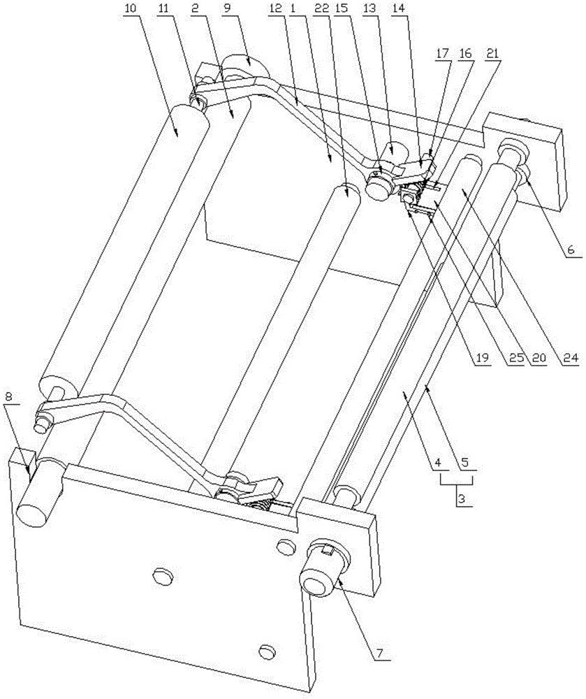
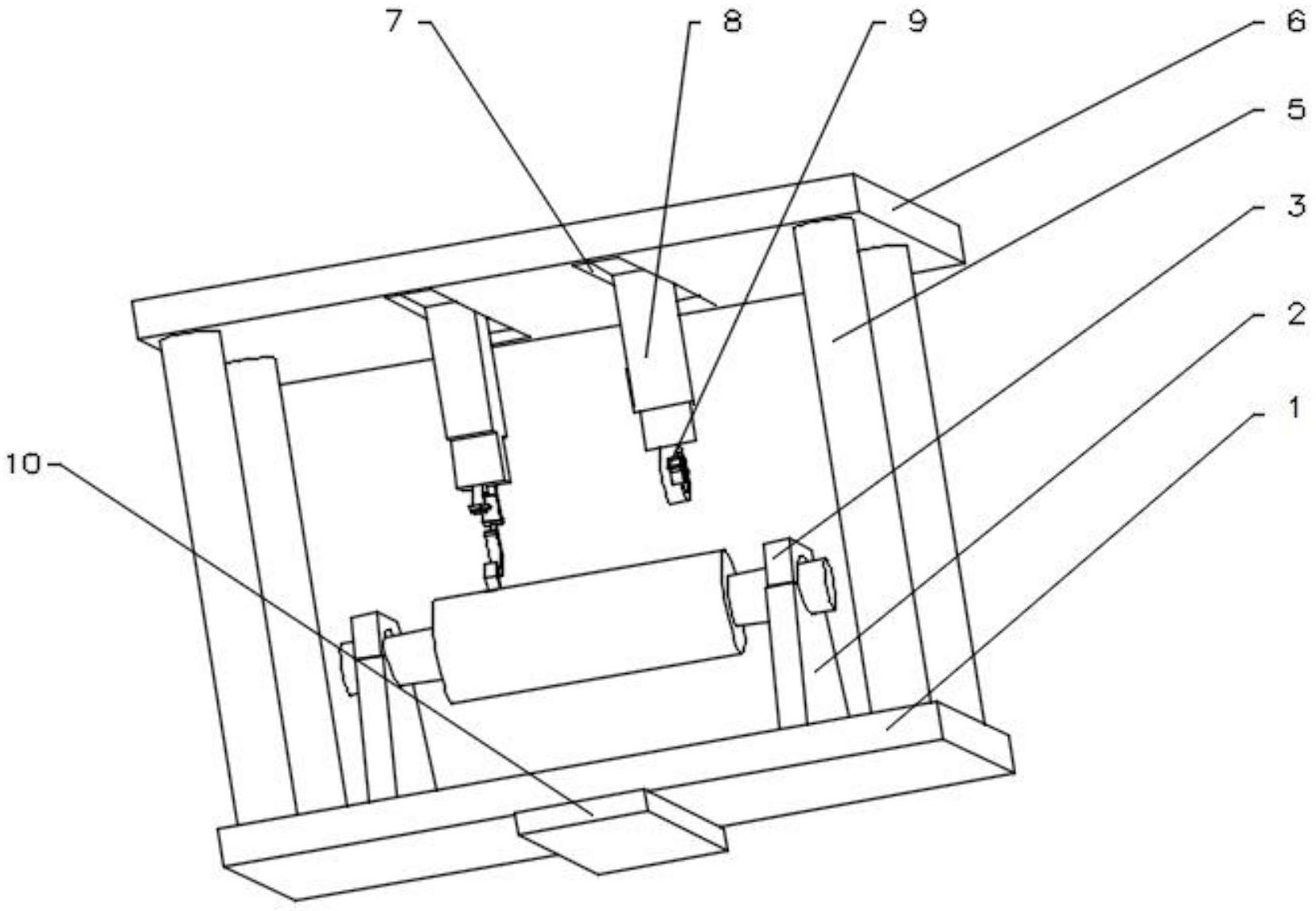
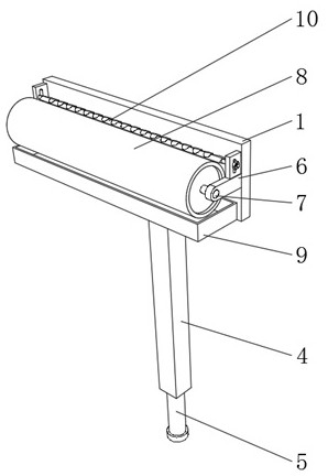
专利摘要:本实用新型涉及线材轧机领域,特别涉及一种双模块机组出口导管的固定装置,包括安装板,所述安装板的一侧外壁安装有四根连接弹簧,且连接弹簧的另一端安装有连接板,所述连接板与安装板中心处均开设有滑动孔,且连接板的一侧外壁中心处焊接有导管座,所述导管座内侧外壁滑动连接有导管,且导管中心处开设有漏斗状导管孔,且导管座的两侧外壁设有固定结构;固定结构包括焊接在导管座外壁的活动盒。本实用新型导管一端受力后,使得导管外壁滑动连接在滑动孔中,连接弹簧受力对冲击力进行缓冲,使得连接板一侧与支撑块接触,便于对冲击力进行缓冲,降低冲击力导致的螺丝松动,提高安装稳固性。

图片来源于网络,如有侵权,请联系删除
今年以来鞍钢股份新获得专利授权320个,较去年同期增加了47.47%。结合公司2025年中报财务数据,今年上半年公司在研发方面投入了2.59亿元,同比增35.6%。

图片来源于网络,如有侵权,请联系删除
通过天眼查大数据分析,鞍钢股份有限公司共对外投资了52家企业,参与招投标项目67327次;财产线索方面有商标信息15条,专利信息10448条,著作权信息156条;此外企业还拥有行政许可614个。
数据来源:天眼查APP
以上内容为证券之星据公开信息整理,由AI算法生成(网信算备310104345710301240019号),不构成投资建议。