新锦动力获得实用新型专利授权:“一种改进型径向滑动轴承测试设备”
证券之星消息,根据天眼查APP数据显示新锦动力(300157)新获得一项实用新型专利授权,专利名为“一种改进型径向滑动轴承测试设备”,专利申请号为CN202422935781.5,授权日为2025年10月17日。

图片来源于网络,如有侵权,请联系删除
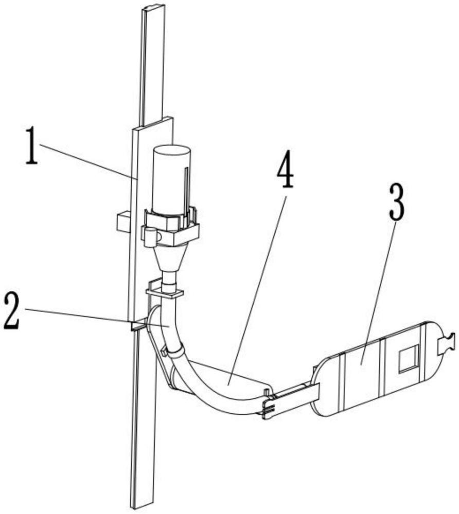
专利摘要:本实用新型涉及轴承测试技术领域,且公开了一种改进型径向滑动轴承测试设备,包括外壳,外壳的顶部固定连接有桁架,桁架的顶部一侧固定连接有步进电机,桁架的顶部另一侧固定连接有支撑轴座,步进电机的驱动端与支撑轴座的中部轴杆之间相固定连接,支撑轴座的中部转动连接有径向滑动轴承,支撑轴座的中部位于径向滑动轴承的旁侧转动连接有给油环;针对径向滑动轴承在测试过程中加设可调节的牵动机构,使得轴承整体在旋转翻面调节时能够减少外壁整体所受到的摩擦力影响,并同步对其外壁以及滚珠缝隙之间加以润滑油液进行浸润,从而能够使得径向滚动轴承在测试过程中,减少裂纹的产生或是发生脱落的情况。

图片来源于网络,如有侵权,请联系删除
今年以来新锦动力新获得专利授权2个,较去年同期减少了33.33%。结合公司2025年中报财务数据,今年上半年公司在研发方面投入了738.75万元,同比减52.24%。

图片来源于网络,如有侵权,请联系删除
通过天眼查大数据分析,新锦动力集团股份有限公司共对外投资了23家企业,参与招投标项目36次;财产线索方面有商标信息71条,专利信息43条,著作权信息195条;此外企业还拥有行政许可5个。
数据来源:天眼查APP
以上内容为证券之星据公开信息整理,由AI算法生成(网信算备310104345710301240019号),不构成投资建议。