科伦药业获得实用新型专利授权:“一种锅炉热水回收节能装置”
62900
2025年11月04日
证券之星消息,根据天眼查APP数据显示科伦药业(002422)新获得一项实用新型专利授权,专利名为“一种锅炉热水回收节能装置”,专利申请号为CN202422906894.2,授权日为2025年11月4日。

图片来源于网络,如有侵权,请联系删除
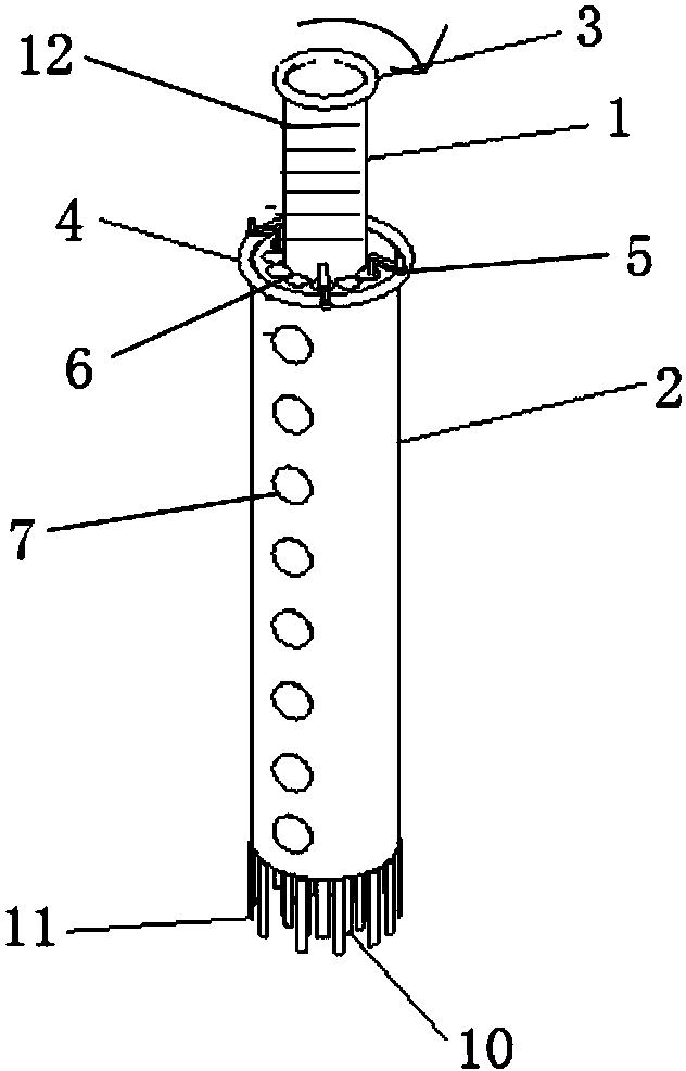
专利摘要:本实用新型涉及节能环保领域,具体涉及一种锅炉热水回收节能装置,包括第一存水罐和锅炉,所述第一存水罐与所述锅炉之间通过输水管连通,所述输水管上设有第一阀门,所述锅炉连有蒸汽输送管,所述蒸汽输送管用于连接车间设备,所述第一存水罐连有冷凝水回收管,所述冷凝水回收管用于连接车间设备。通过设置冷凝水回收管将水蒸气使用后产生的冷凝水输送至第一存水罐,为锅炉持续供水,节约了水资源,同时回收的水还具有较高的温度,供应给锅炉使用还可以减少锅炉的能源消耗。

图片来源于网络,如有侵权,请联系删除
今年以来科伦药业新获得专利授权35个,较去年同期增加了16.67%。结合公司2025年中报财务数据,今年上半年公司在研发方面投入了10.48亿元,同比减2.78%。
通过天眼查大数据分析,四川科伦药业股份有限公司共对外投资了47家企业,参与招投标项目8613次;财产线索方面有商标信息1136条,专利信息2045条,著作权信息14条;此外企业还拥有行政许可1045个。
数据来源:天眼查APP
以上内容为证券之星据公开信息整理,由AI算法生成(网信算备310104345710301240019号),不构成投资建议。