软控股份获得实用新型专利授权:“一种顶出装置”
证券之星消息,根据天眼查APP数据显示软控股份(002073)新获得一项实用新型专利授权,专利名为“一种顶出装置”,专利申请号为CN202422614820.1,授权日为2025年10月31日。

图片来源于网络,如有侵权,请联系删除
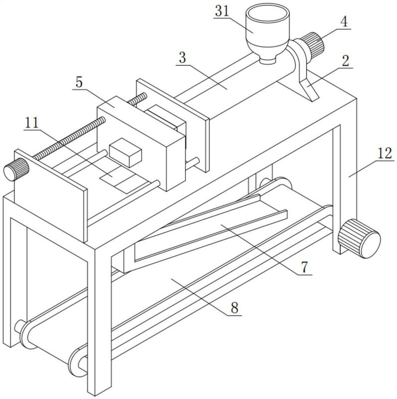
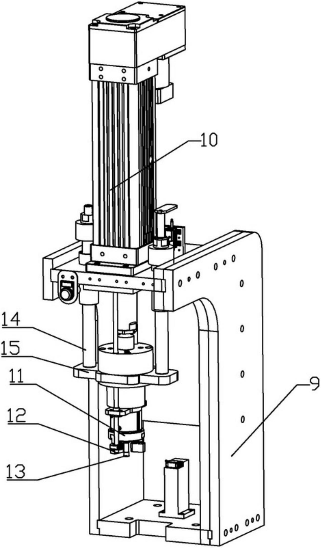
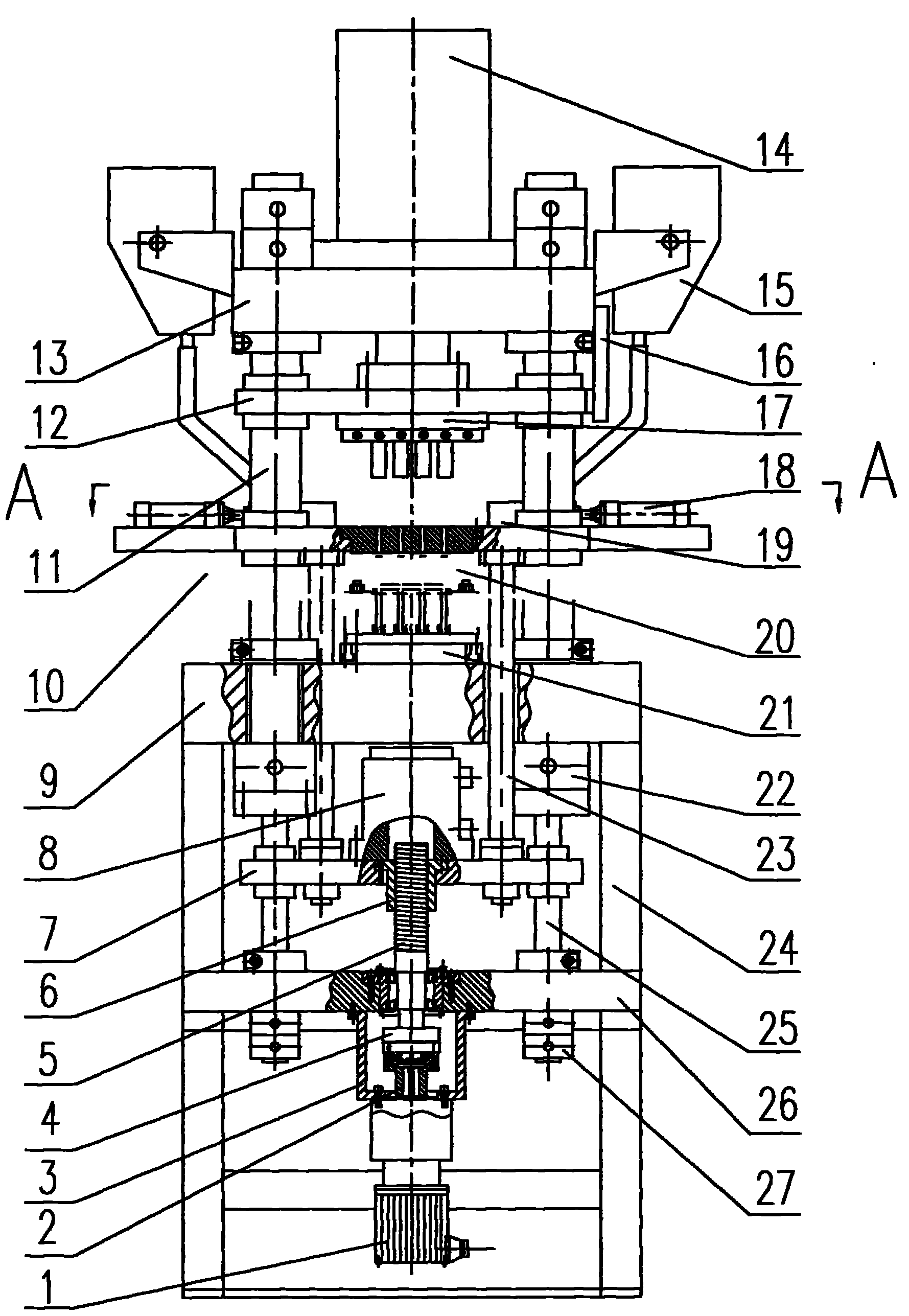
专利摘要:本申请实施例提供了一种顶出装置,该顶出装置包括底座,滑动装配在底座上的支撑座,支撑座的滑动方向沿橡胶的传输方向并可与橡胶同步移动;支撑座背离底座的一面为支撑橡胶的支撑面;还包括用于顶起样片的顶板,顶板可相对支撑座移动,且顶板的移动方向垂直于橡胶的滑动方向;在顶板位于第一设定位置时,顶板隐藏在支撑座内且不外凸;还包括驱动机构,驱动机构用于驱动顶板移动。在上述技术方案中,通过采用支撑座跟随橡胶传输的方向移动,并通过支撑座支撑橡胶,因此在切割橡胶取样片时,可保持橡胶的稳定性,提高取样的效果。另外,该顶出装置还包括顶板,该顶板用于将切割后的样片从橡胶上顶起,从而方便取样。

图片来源于网络,如有侵权,请联系删除
今年以来软控股份新获得专利授权104个,较去年同期增加了30%。结合公司2025年中报财务数据,今年上半年公司在研发方面投入了2.21亿元,同比增22.71%。

图片来源于网络,如有侵权,请联系删除
通过天眼查大数据分析,软控股份有限公司共对外投资了27家企业,参与招投标项目26次;财产线索方面有商标信息99条,专利信息1667条,著作权信息176条;此外企业还拥有行政许可17个。
数据来源:天眼查APP
以上内容为证券之星据公开信息整理,由AI算法生成(网信算备310104345710301240019号),不构成投资建议。