天工股份获得实用新型专利授权:“一种用于钛合金的取样装置”
63232
2026年02月06日
证券之星消息,根据天眼查APP数据显示天工股份(920068)新获得一项实用新型专利授权,专利名为“一种用于钛合金的取样装置”,专利申请号为CN202422969096.4,授权日为2026年2月6日。

图片来源于网络,如有侵权,请联系删除
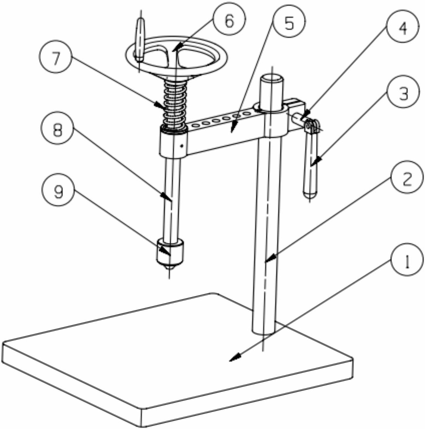
专利摘要:本实用新型公开了一种用于钛合金的取样装置,涉及钛合金加工技术领域,包括承重平台,所述承重平台的两侧均固定连接有立座,两个立座相互靠近的一面均开设有滑腔,所述滑腔的内部滑动设置有滑柱,两个滑柱相互靠近的一端均固定连接有夹座,所述夹座的内部开设有用于输送气体的内腔,两个夹座相互靠近的一面均开设有滑槽,滑槽与对应的内腔连通,所述滑槽的内部设置有挤压组件,所述挤压组件包括夹持杆、弹簧和凸块。该用于钛合金的取样装置,通过设置夹座、内腔和挤压组件等结构,可适用多种尺寸的钛合金铸锭,且多个夹持杆分别从不同位置和角度对钛合金铸锭进行夹持固定,保证对钛合金铸锭定位的稳定性和适用性,从而提高采样的效率。
今年以来天工股份新获得专利授权1个。结合公司2025年中报财务数据,2025上半年公司在研发方面投入了1342.75万元,同比减22.72%。
通过天眼查大数据分析,江苏天工科技股份有限公司共对外投资了3家企业,参与招投标项目29次;财产线索方面有商标信息3条,专利信息158条;此外企业还拥有行政许可17个。
数据来源:天眼查APP
以上内容为证券之星据公开信息整理,由AI算法生成(网信算备310104345710301240019号),不构成投资建议。