长江电力获得实用新型专利授权:“一种启闭装置”
74854
2026年03月13日
证券之星消息,根据天眼查APP数据显示长江电力(600900)新获得一项实用新型专利授权,专利名为“一种启闭装置”,专利申请号为CN202520343568.7,授权日为2026年3月13日。

图片来源于网络,如有侵权,请联系删除
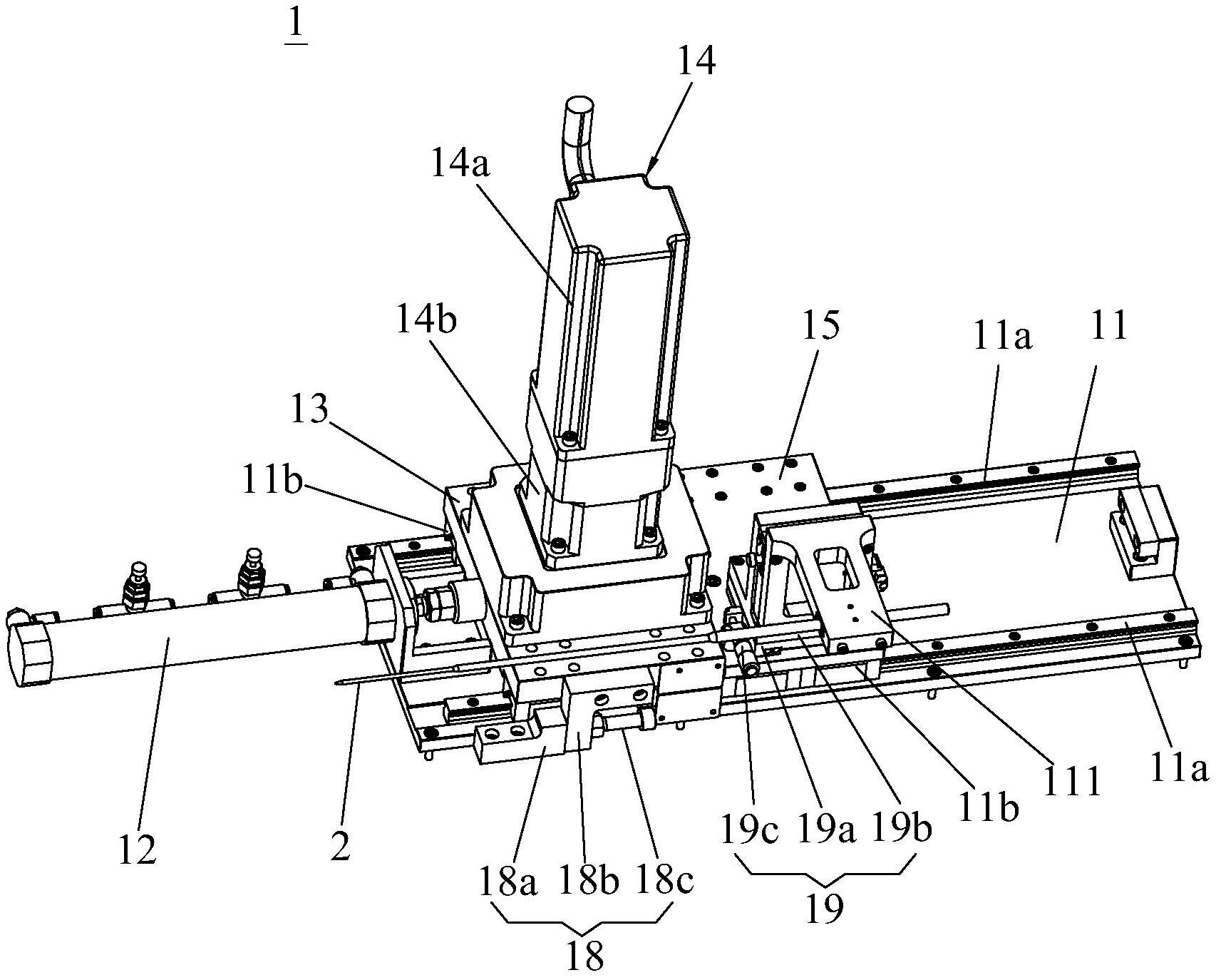
专利摘要:本实用新型公开了一种启闭装置,包括驱动单元和连杆,驱动单元用于安装在固定部上,连杆一端与驱动单元铰接,另一端用于与活动部铰接,驱动单元用于推拉所述连杆,以开启或者关闭活动部,还包括限位装置,限位装置用于安装在固定部上,限位装置与连杆配合时,将活动部限位。当滑动座向右侧移动时,将活动部关闭,之后限位装置的伸缩部与连杆配合,从而将活动部限位,活动部关闭后不会晃动。

图片来源于网络,如有侵权,请联系删除
今年以来长江电力新获得专利授权155个,较去年同期增加了49.04%。结合公司2025年中报财务数据,2025上半年公司在研发方面投入了2.28亿元,同比增0.6%。
通过天眼查大数据分析,中国长江电力股份有限公司共对外投资了46家企业,参与招投标项目7714次;财产线索方面有商标信息252条,专利信息7589条,著作权信息1371条;此外企业还拥有行政许可439个。
数据来源:天眼查APP
以上内容为证券之星据公开信息整理,由AI算法生成(网信算备310104345710301240019号),不构成投资建议。