格力电器获得发明专利授权:“双水箱热水系统及其控制方法”
72003
2025年09月27日
证券之星消息,根据天眼查APP数据显示格力电器(000651)新获得一项发明专利授权,专利名为“双水箱热水系统及其控制方法”,专利申请号为CN202411318055.7,授权日为2025年9月26日。

图片来源于网络,如有侵权,请联系删除
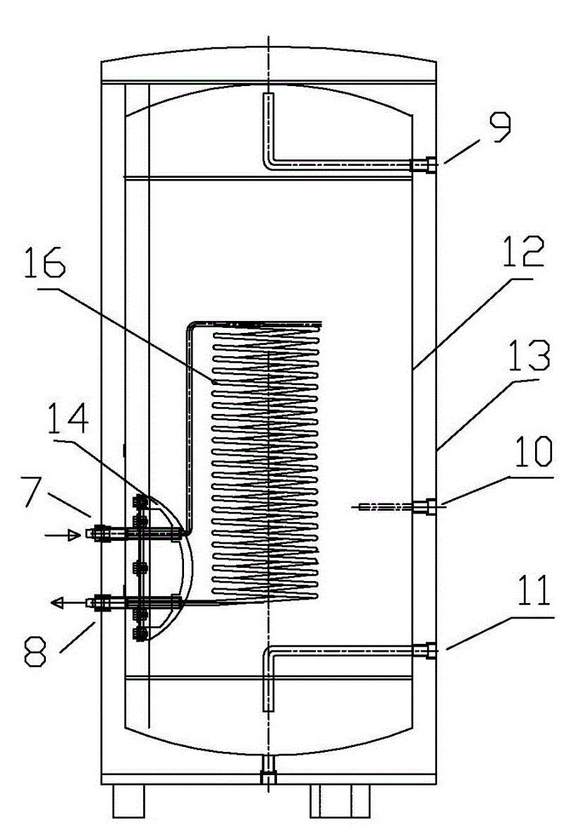
专利摘要:本发明提供了一种双水箱热水系统及其控制方法,其中双水箱热水系统包括热水循环泵组件,该热水循环泵组件包括并联设置的加热水泵和保温水泵,且保温水泵的进水端通过第一手动阀与加热水泵的进水端相连;本发明双水箱系统共用热泵机组时,采用并联设置的加热水泵和保温水泵,并利用水泵之间的第一手动阀隔断加热水箱与保温水箱,同时仅需分别针对加热水箱和保温水箱设置加热阀和保温阀,便减少了电动阀数量,从而故障点减少,可靠性更高。

图片来源于网络,如有侵权,请联系删除
今年以来格力电器新获得专利授权5900个,较去年同期增加了13.51%。结合公司2025年中报财务数据,今年上半年公司在研发方面投入了39.18亿元,同比增10.92%。

图片来源于网络,如有侵权,请联系删除
通过天眼查大数据分析,珠海格力电器股份有限公司共对外投资了101家企业,参与招投标项目30986次;财产线索方面有商标信息8172条,专利信息116624条,著作权信息297条;此外企业还拥有行政许可842个。
数据来源:天眼查APP
以上内容为证券之星据公开信息整理,由AI算法生成(网信算备310104345710301240019号),不构成投资建议。